东宝软件专注于人力资源管理数字化解决方案,常常会遇到一些客户有HR系统功能定制开发的需求。针对于这些需求,东宝软件先调研了解其管理模式,总结规律,通过DHG人力资源系统的定制化开发来实现这些管理需求。

苏州某客户公司针对员工,尤其是实习生,提供商业险服务,但是人员、数据等特殊情况较多,原先线下管理模式已不能适用现有情况,需要统一线上管理;
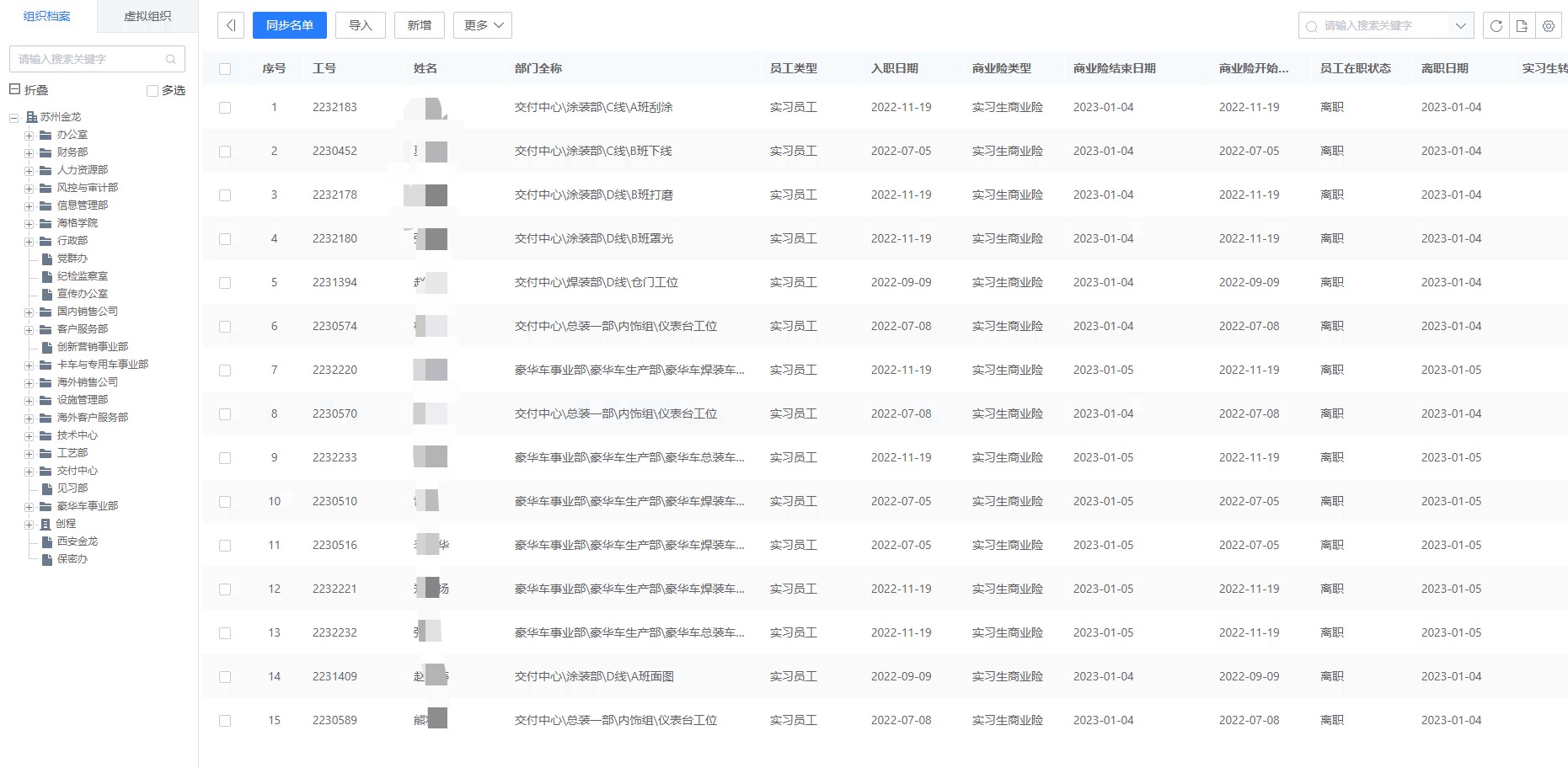
通过在东宝DHG系统定制开发模块、字段功能,实现统一的线上管理,具体如下:
①在员工档案模块添加是否需要缴纳商业险字段,用于维护员工是否需要购买商业险,以及需要购买的商业险类型。

②通过二次开发,创建"商业险基数"模块,用于维护对应商业的基数与生效、失效日期。

③通过二次开发,创建"商业险缴纳名单"模块,用于产生缴纳商业险的名单以及商业险类型、有效期等信息,可以自动产生,也可以手动点击"同步名单"按钮产生。

④通过二次开发,创建"商业险每月台账"模块,用于计算每月的商业险缴纳名单已经金额,用于跟商业险公司对账使用,数据可以自动产生,也可以手动点击"按月计算"按钮产生。

通过数据整合,数据共享,底层框架赋能,实现商业险数据的线上化管理,每月的台账数据,只要在维护基础数据准确后,等待定时任务执行后,或者点击同步名单、按月计算按钮,即可产生,大大减少了人工管理成本与数据的错误率。
每月对账时间,由原来每月需要3小时左右,缩短为1小时左右,预估HR基本薪资8000元,8000/21.75/8*2≈91.95元,每月每人可省时间成本137.93元,全年可省成本:137.93*12=1103.4元。