随着项目类企业规模的不断扩大和业务的日益复杂,项目管理成为企业运营中的关键环节。传统的项目管理方式往往存在信息不透明、流程繁琐、成本控制不精准等问题,导致项目进展缓慢、资源浪费严重。为了解决这些问题,企业需要一套高效、准确的项目管理系统,以实现项目信息的实时更新、资源的合理配置和成本的精确控制。

东宝DHG系统定制开发为企业提供了从项目填报、工时管理到成本核算的全方位解决方案。通过DHG系统,企业可以更加高效地管理项目资源、优化项目进度、降低项目成本,从而提升企业的整体竞争力。
1.提升项目管理效率:通过统一的填报界面和自动化的数据处理功能,DHG系统大大简化了项目管理流程,减少了人工操作和数据录入的工作量,提高了项目管理的工作效率。
2.优化资源配置:DHG系统可以根据项目的需求和团队成员的能力,自动计算工时和成本,为资源的合理分配提供依据。通过精确的数据分析,企业可以更好地掌握项目进展情况和资源利用情况,避免资源的浪费和过度投入。
3.加强成本控制:DHG系统通过自动计算项目成本和生成凭证明细数据,帮助企业实现成本的精确控制。企业可以实时了解项目的成本构成和变动情况,及时发现成本控制的薄弱环节,并采取相应的措施降低成本。
4.提高决策支持能力:DHG系统提供丰富的数据分析和可视化功能,为企业决策层提供有力的支持。通过系统生成的项目进度报告、成本分析报表等,企业可以更加清晰地了解项目情况,制定更加科学合理的决策方案。
1、项目填报单:创建并管理项目的基础信息,确保项目信息的完整性和准确性。项目填报详细界面包含了项目编号、名称、项目经理、项目参与人、测试项目经理以及测试项目参与人等关键字段。填报完成后,系统将进行项目填报审核,以确保信息的合规性。目前,这一功能已通过接口无缝集成至东宝DHG系统,实现了信息的实时更新与共享。


2、计划工时填报:此模块用于记录每个项目所投入的计划计工工时,以支持项目资源的合理配置。填报内容包含项目编号、项目名称、参与人、以及参与人投入的日期及工时数等详细信息。通过精准的数据录入,企业可以更加清晰地了解项目工时分配情况,为项目管理和决策提供有力支持。


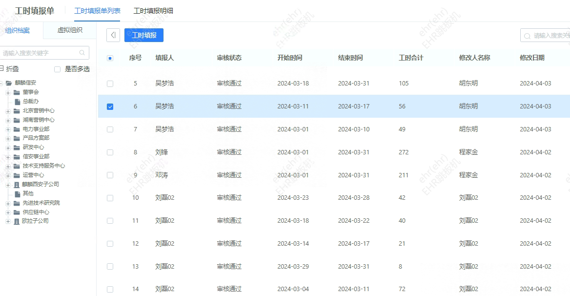
3、项目工时填报:用于用户详细记录每个项目每天的具体工时投入情况,确保工时数据的实时性和准确性。填报界面包含项目编号、项目名称、参与人、参与日期和参与工时等关键字段。通过每日的工时填报,企业可以实时掌握项目进度和团队成员的工作效率,为项目管理和优化提供数据支持。


以下是填写的界面

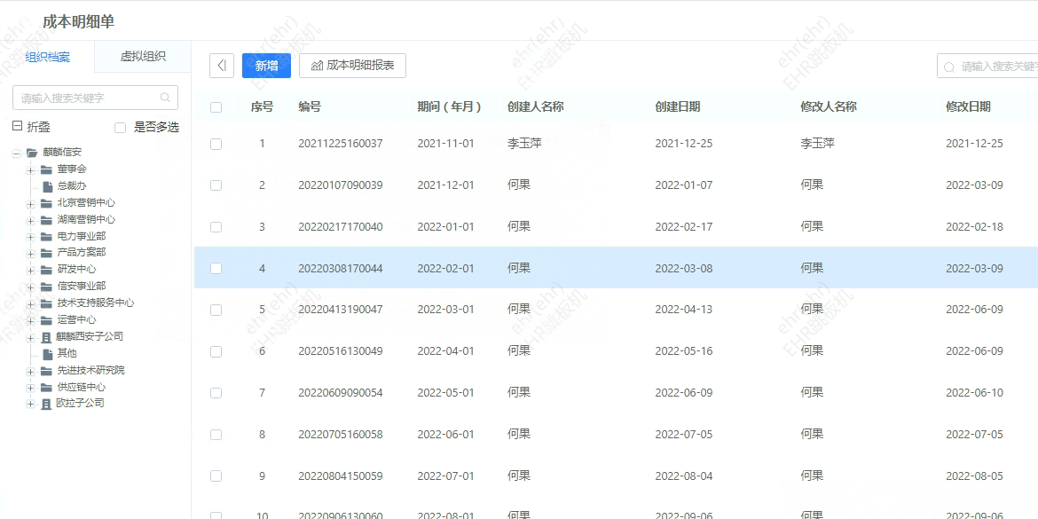
4、项目成本明细:根据项目实际的人员参与工时和员工当月的工资情况,自动进行薪资各科目成本分摊,生成详细的项目成本明细报告。通过该功能,企业可以更加精准地了解项目的成本构成和分布情况,为成本控制和预算制定提供有力依据。


5、部门科目映射:实现了不同成本中心、薪资科目和项目归属之间的映射关系,为后续的会计分录生成提供了基础数据。通过部门科目映射,企业可以更加规范地进行会计核算,提高财务信息的质量和透明度。

6、凭证明细数据:根据部门科目映射关系自动生成凭证明细数据,实现了分计分录的自动化处理。通过该功能,企业可以简化财务流程,提高工作效率,同时确保凭证数据的准确性和完整性。凭证明细数据为企业的审计、合规和决策支持提供了重要依据。
