苏州某客户企业员工在出差时需要在合思财务管理平台上填写出差单和行程,待合思系统审批完以后,再到携程商旅去订票。同时出差补贴还需要每个部门有一个助理去收集出差的行程以及天数,然后再汇总到HR这里。HR还需要去区分员工的的出差区域,根据出差区域去发放补贴。但是通常员工的出差计划可能会出现变更,而合思财务平台目前无法跟着变更,只能够直接添加新的出差单据,导致员工有不同的单据存在出差时间段重叠的情况。部门的助理和人事还需要核对实际出差天数,重新计算出差津贴,较为繁琐和困难。DHG系统标准的出差单管理功能无法实现一笔单据添加多个行程记录,需填多笔出差单,会给出差人员带来填单的困难。
开启东宝DHG系统的出差管理自定义功能,通过在DHG系统出差单定制开发行程模块中添加出差单多行程功能以及订票跳转功能,实现系统的便捷操作,具体过程如下:
1、同步合思系统的城市库和项目库。
2、对出差单字段以及行程子表进行定制开发,员工在进行出差单填写时可以选到对应的出差项目,以及添加多笔行程,以及出差区域的填写。

3、新增出差行程时,可以勾选是否订酒店,以及是否返程,如果勾选是,这笔行程传到合思平台时会将自动返程记录以及酒店的信息同步过去,同时对行程的时间也做了校验,行程的时间必须在出差单所填时间范围内,超出则无法保存。

4、变更出差单时,会将原本所填的信息带出,员工只需在原本的基础上做出修改即可。

5、在审核通过后,这笔出差单会有一个订票的按钮,用户只需点击就可跳转到携程商旅订票和酒店。

6、出差单审核通过之后,传到合思系统,后续员工可以在合思系统进行报销操作。
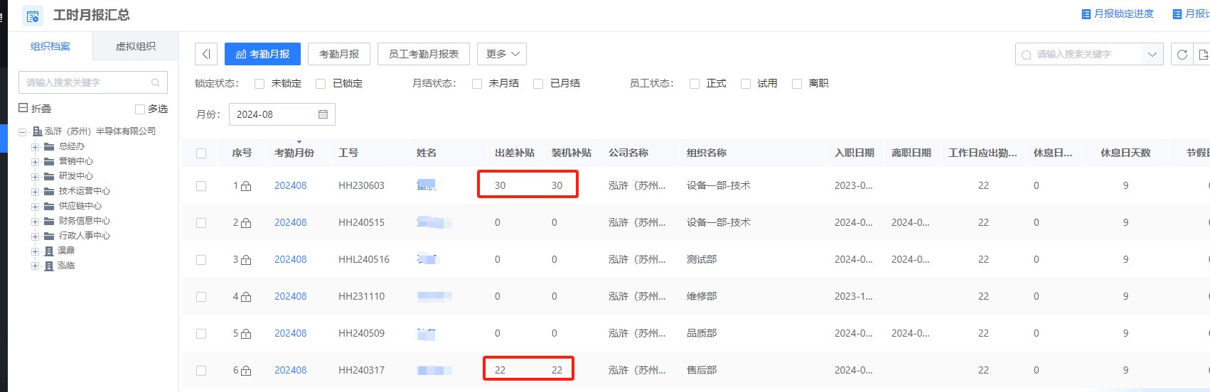
7、工时日报、工时月报添加出差天数、出差津贴和装机津贴,通过自定义规则,自动核算津贴次数,不需要人工再进行统计次数,计算津贴项导入系统用于核算薪资。


1、通过此项功能的开发,大大减少了人工成本,增强了系统的便捷性和用户的体验感。
2、此项功能的开发,将用户每次出差所需要填写的申请以及订票时间至少减少一半,原本每人需要5分钟才能完成出差单、合思单据、携程订票单据填写,现在只需2分钟,大大提高了出差单填写的效率。
3、节省各部门助理以及HR统计出差补贴这一环节的时间,这一环节,每月累计需要花费50小时(部门助理10人4H核对,人事1人10H核对确认),通过该功能的开发每月节省成本为8000/21.75/8*50=2298.85元,全年可省成本:2298.85*12=27586.2元